Документы
Артикул производителя
CE06
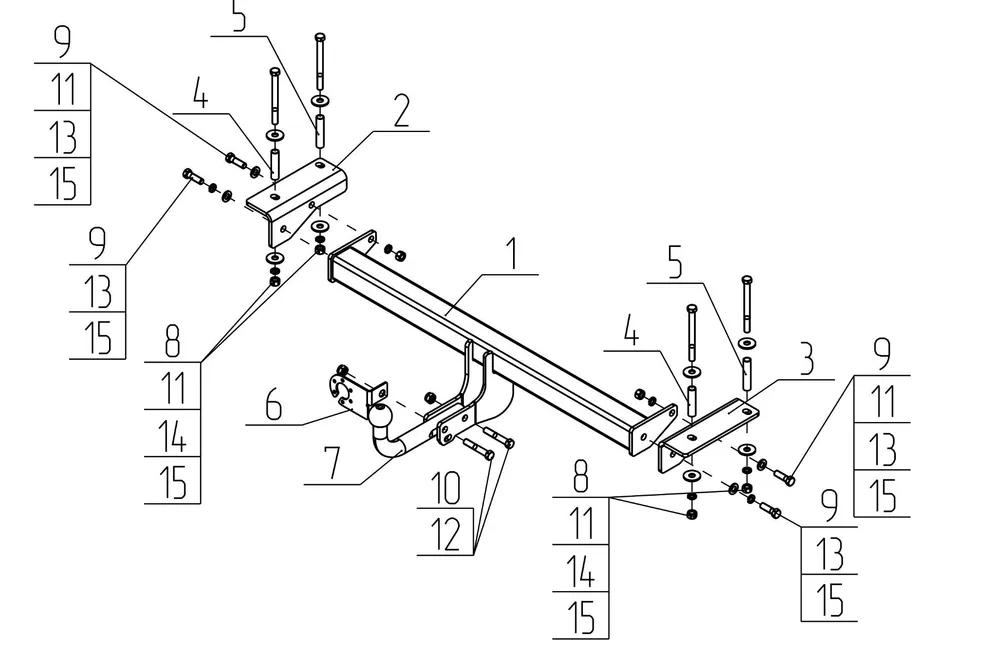
Крепление крюка:
?
Характеристика, которая показывает, каким способом тяговый шар закреплён на фаркопе (быстросъемные, на болтах или приваренный)
Разборный на болтах
Подрезка бампера
?
Подрезка бампера — минимальная, почти не видна и обычно располагается в нижней части бампера.
Нет
Тяговая нагрузка в кг.
?
Максимальный допустимый вес прицепа, который можно буксировать с данным фаркопом.
75/1200 кг
Электрика
нужен блок согласования
Отзывы
Оставить отзыв
Загрузка отзывов...
Оплачивайте покупки удобным способом. В интернет-магазине доступно несколько варианта оплаты:
- Наличные при самовывозе или доставке курьером.
- Электронные системы при онлайн-заказе: ЕРИП.
- Безналичный расчет для организаций
Самое важное
- Бесплатно доставляем по Минску заказы от 90 руб. в течение одного дня;
- Доставляем по Беларуси в любой город до двери или почте;
- Самовывоз со склада в Минске с пн по пт;
- Доставляем бесплатно до установочного центра;
- Принимаем оплату в любой форме: наличные, пластиковые карты, ЕРИП, безнал;
Установка фаркопа в Минске на СТО от
180 руб.
Варианты цен
180 руб.
С электрикой +30 руб. (если нужен блок согласования +70руб.)
30 руб.
Варианты цен
30 руб.
Установка фаркопа в Могилеве на СТО от
250 руб.
Варианты цен
250 руб.
Установка фаркопа в Гродно на СТО от
250 руб.
Варианты цен
250 руб.
Установка фаркопа в Витебске на СТО от
250 руб.
Варианты цен
250 руб.
Установка фаркопа в Бресте на СТО от
250 руб.
Варианты цен
250 руб.

