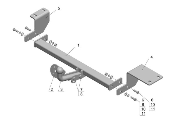
Купить фаркоп (прицепное устройство) для Geely MK I (2006-2015)