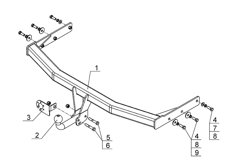
Купить Фаркоп AvtoS для GREATWALL Hover H3 (2010-2016) с установкой в Минске, цена