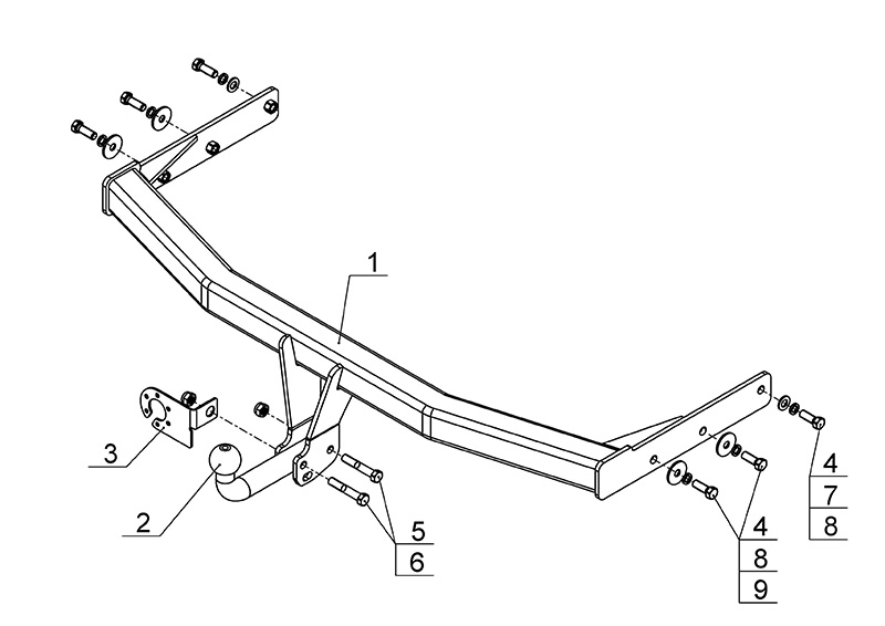
Купить Фаркоп AvtoS для GREATWALL Hover H5 (2010-2017) с установкой в Минске, цена