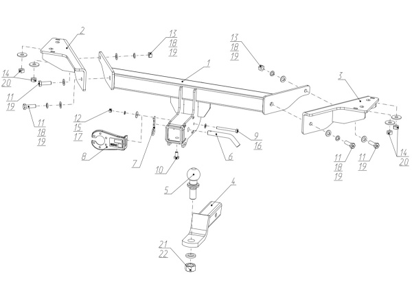
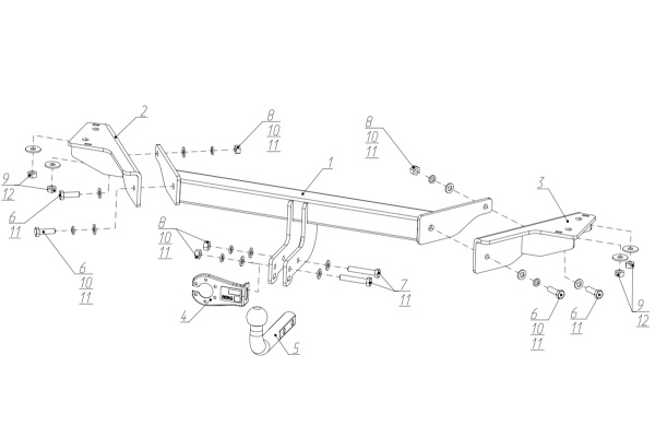
Купить фаркоп (прицепное устройство) для Haval Dargo I (2022-)