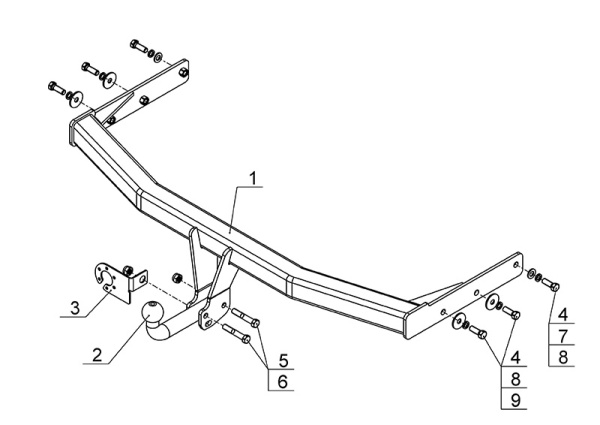
Купить фаркоп (прицепное устройство) для Haval H5 I (2020-2021)