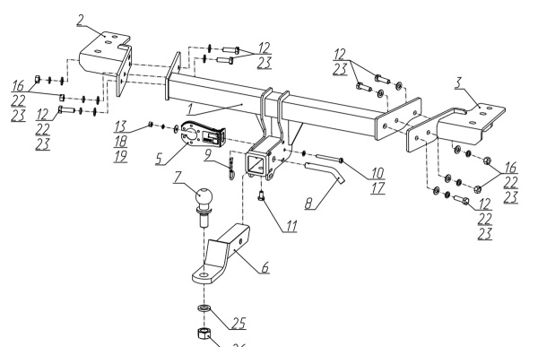
Купить фаркоп (прицепное устройство) для Haval H7