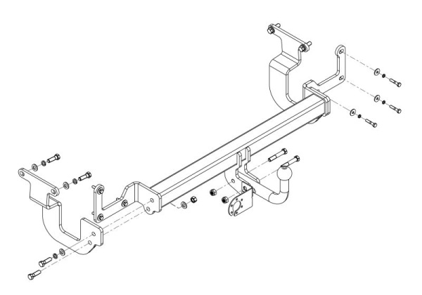
Купить фаркоп (прицепное устройство) для Peugeot Expert