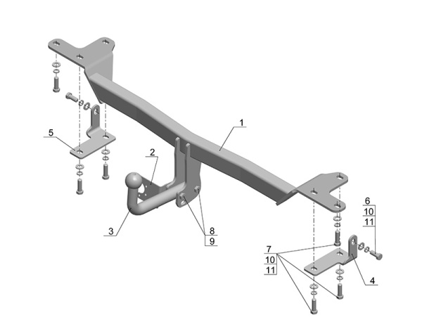
Купить фаркоп (прицепное устройство) для Suzuki Grand Vitara II (2005-2016)